[*]





The Philosophy of Computational Quantum Chemistry

From Dr. Buyong Ma , Ph.D Dissertation of University of Georgia, March, 1995



The advances of computational approach to chemical problems are remarkable. It has been gradually clear that computer may be the instruments of new experimental methodology, i.e., computer experiment, which means that computer together with appropriate software form a fundamental extension of our means to obtain experimental information[1,2]. The philosophical significance of such scientific practice, especially computational quantum chemistry, remains to be evaluated and appreciated. A careful examination of the newly advanced scientific discipline may enrich our understanding about some problems of philosophy of science, for instance, the relationship between theory and observation and cognitive models of science. Vise verse, a philosophical consideration of computational quantum chemistry might help us get fully appreciation about computational quantum chemistry.

I. The theoretical nature of computational quantum Chemistry
The definition of computational chemistry is somewhat arbitrary and subjective. The following are examples[3] which are of interest to the present introduction.
1. Hopfinger: Quantitatively modeling of chemical behavior on a computer by the formalism of theoretical chemistry.
2. Schlyer: Attempts to model all aspects of real chemistry as closely as possible by using calculations rather than experiment.
3. Clark: use of molecular mechanics along with semiempirical and ab initio molecular orbital theory to determine structures and properties of molecules.
Therefore, according to above definitions there are three characteristics for computational chemistry:
A. obtaining chemical information (structure, property and their relationship) by calculation rather then experiment (for comparison with physical experiment, see flow charts later).
B. The heart of computational chemistry is the formalisms of the theories in chemistry, which include classical, quantum, and statistical mechanics and other aspects of molecular physics, chemical physics, and physical chemistry.[3]
C. There are different branch of computational chemistry, depending on the formalism of the theoretical chemistry employed. For example, computational quantum chemistry use quantum mechanics rigorously while semiempirical method less rigorously (incorporating of empirical determination of two electron integral involved in solving shrodinger's equation. Molecular mechanics and dynamic base on the formalism of classical mechanics and incorporating parameters gotten from experiment or other theoretical method.

According to May Jo Nye, there are two conceptual core in chemistry.[4] (1) Dynamics, namely, the mechanism of chemical reactivity. and (2) Chemical 'species' and chemical 'constitutions'. In short the central problem in chemistry is the structures, properties and their relationships of matter (molecules). The structures of molecule involve two aspects, namely qualitative structures (nucleus arrangement, electronic structures, etc.) and quantitative structures. The properties of molecule also have two aspects, name chemical properties (reactivity for example) and physical property. It is the intention of computational chemistry to deal with the central problem in chemistry.

The theory of computational quantum chemistry may be briefed as follow: A molecule in a particular electronic state may exist with various configurations of its nuclei, each configuration in spaces corresponding to a particular potential energy of the system. A map of the potential energy versus nuclear configuration for a given electronic state is called a potential energy surface. The ideas of molecular structure, energetics and dynamics are unified by the potential energy surfaces. The potential energy surfaces of a molecule can be constructed by the formalism of quantum mechanics. Therefore, the information of the structure and properties of the molecules can be calculated by the formalism of quantum mechanics and the information about their relationship may be known.
A flow chart of computational quantum chemistry in practice may be as follow[5]:

[*]

Note here, in the process of determining molecular structure and properties, no real substance are involved, in contrast to a physical experiment, for which the flow chart may be that in Figure 1b.

II. The philosophical background of the critics of computational (quantum) Chemistry
Dirac[6] made his famous manifesto 50 years ago:
The underlying physical laws necessary for the mathematical theory of a large part of physics and the whole of chemistry are thus completely known, and the difficulty is only that the exact application of these laws leads to equations much too complicated to be soluble.
Today this difficulty has been circumvented due the joint advance of computer and theoretical methods. However, another difficulty -- conceptual difficulty still stand. Even today many chemists are uncomfortable with the thought of using a digital computer as an investigative tool. Many are skeptical. Some are uninformed or even prejudiced. They do not believe that theory is capable of making accurate predictions of chemical phenomena.
The reluctance of chemists' acceptance of computational chemistry may have several reasons due to its theoretical nature. The strongest resistance comes from the refutation to reduce chemistry to physics. In the regards of the applicability of quantum mechanics to chemistry, some chemists4 argued that molecular structure is a classical idea, foreign to the principles of pioneer quantum mechanics that neither gives a correct nor a consistent description of molecules (due to the Born-Oppenheimer approximation). For some chemists, the emphasis on environment and on the molecule acting in an environment is not trivial, for it lies at the heart of the conceptual aims and problems of the chemical discipline[4]. They resist the quantum mechanical reduction of chemical molecule to an isolated physical molecule. Of course, the reductionism of philosophy of science (specifically, the reduction of chemistry to physics here) will be a arguing topic forever. Nevertheless, the successes and practices of computational quantum chemistry indicate that there is a place in chemistry for a gentle form of reductionism.[2]
The most revolutionary aspect of computational chemistry, as may be seen from the above flow charts, is that the computational chemistry does not study matter (molecules) directly, in contrast to the traditional descriptive practice in chemistry. In this regard, the resistance are understandable. For example, one simple question may be how is it possible to obtain knowledge from complex molecular world by mathematics fitting rather than observing the molecular world directly. There may be a misunderstanding of the relationship between theory and phenomena, which constituted a philosophical motivation for such resistance. I do not mean to argue whether a philosophical belief may affect scientific acceptance substantially. The fact is that the emphasis of observational/descriptive nature of chemistry actually reflected the opinions of received view of (positivistic) philosophy of science, which privileges observation over theory.[7,8,9] According to the received view of (positivistic) philosophy of science, observation yield factual knowledge (neutral body of facts). Theory then may be logically reconstructed (inductively) from factual knowledge. The factual knowledge can be used inductively to confirm or disconfirm laws or theories.
These resistances, if formulated in the language of the received view of (positivistic) philosophy of science, would be sound like this: quantum mechanics is logically probable (or wrong) for chemistry since the chemical molecule is not an isolated physical molecule. Furthermore, the practice of computational quantum chemistry contracts the principle that the scientific knowledge should be obtained from observation.
The received view of (positivistic) philosophy of science reigned the philosophy of science before 1960s. However, since 1960s, received view of (positivistic) philosophy of science has been beaten to death by the following argument[7,8,9]:
1. There is no observation/theory distinction; and observation involves theory, i.e. it is theory-laden. Therefore, there is no neutral body of facts, from which the theory may be constructed logically, and against which the relative merits of competing theories can be assessed.
2. the received view of (positivistic) philosophy of science obscured the relationship between theory and phenomena.
3. theories can not be logically assessed at a time through their observational consequences by means either of confirmation, verification, or falsification. theory evaluation is a complex matter involving many factors beyond the idealized logic of justification. Theory often do not even purport to be true but rather are introduced as an "idealization", an "abstraction", a "simplification", a "model", or even as a "fiction".
The implication of applying the above arguments against the resistance of computational chemistry is obvious. Interestingly, the successes of computational quantum chemistry coincident with the fallen of the received view of (positivistic) philosophy of science and the rising of 'new philosophy of science', among which the semantic conception (model-theoretic view) of theories is most widely held now[8,9]. One of the reasons accounting for the failure of the received view of philosophy of science is that it primarily concern about the analysis of the product of science, for example, scientific statements (stating from linguistic analysis), rather than examining the history or the practice of scientific activity. The study of the history of science has led revolution in philosophy of science. However, the examination of contemporary scientific practice has limited in the areas of bioscience and psychology (opposite to another extreme of examining only physics in early this century). As a result, the practice of chemical research, which constitute an important linkage from physics to bioscience, has been virtually neglected, except for few studies.[10] So it is the very time for us to consider a new philosophical examination of chemistry, particularly computational quantum chemistry here. As I will illustrated in the following sections, the practice of computational quantum chemistry strongly support the semantic conception of theory; and the semantic conception of theory is a powerful tool to examine the philosophical significance of computational quantum chemistry.

III. Theory and phenomena: a semantic conception (model-theoretic view) of theory
According to the semantic conception of theories8, scientific theories are not linguistic entities, but rather set-theoretic entities. The heart of a theory is an extralinguistic theory structure. Theory structures variously are characterized as set-theoretic predicates, state space and relational systems. When one propounds a theory, one specifies the theory structure and asserts a theoretical hypothesis claiming that real-world phenomena (or a particular real-world phenomenon) stand(s) in some mapping relationship to the theory structure whereby that structure models the dynamic behavior of the phenomena or phenomenon. The following analysis will be helpful to understand the semantic conception of theory and its use for examining the practice of computational quantum chemistry.
A. Intended scope of the theory:
Theory are formulated to characterize a class of phenomena known as the "intended scope of the theory" perhaps, say, the class of all mechanical phenomena of interacting bodies.
B. physical system:
The theory does not attempt to characterize the phenomena in all their complexity, but only attempts to do so in terms of a few parameters abstracted from the phenomena. In effect, what the theory does is directly describe the behavior of abstract system, known as physical system, whose behaviors depend only on the selected parameters. However, these physical systems are abstract replicas of actual phenomena, being what the phenomena would have been if no other parameters exerted an influence. Thus by describing the physical systems, the theory indirectly gives a counterfactual characterization of the actual phenomena.
C. theory-induced physical system:
As illustrated below, corresponding a theory, there is a theory-induced physical system, which correspond in the manner as that between phenomena and physical system. In propounding the theory we are claiming that the class of theory-induced physical system is identical with the class of causally possible physical system for the theory. If the theory is empirically true, then these two classes are identical; and if they are not identical, the theory is empirically false.
D. Predicting phenomena:
Although theories directly determine only the class of theory-induced physical system, they can be used to predict phenomena in the following manner: suppose the theory is one whose laws are deterministic laws of succession and that we wish to predict the subsequent behavior of some phenomenon at t'. By means of one's experimental methodology it is determined what physical system state corresponds to the phenomenon at some prior time t. Then, using some formulations of the theory, one determines which theory-induced physical system characterizes the behavior of a physical system in state s at time t; Determine the physical system in question indicates a sequence of states the physical system subsequently will assume, and from that sequence one determines what state s' the physical system will be in at t'. If the theory is empirically true, then s' will correspond to the phenomena in question at t' that is, s' indicates what the phenomenon would be at t', if its parameters were the only ones affecting the phenomenon and the phenomenon were to meet the idealized conditions imposed by the theory. Then by the experimental methodology, one determines the actual phenomenon p' which should correspond to s'.
[*]
According the analysis above, the formalism of computational quantum chemistry may be reformulated in the semantic conception to get insight into the philosophical significance of such practice.
1. Upon dealing with the chemical phenomena, we define the corresponding physical system of chemical phenomena as the molecules and their collection ( intended scope of computational chemistry and its physical system).
2. the theory-induce physical system for the computational quantum chemistry is the molecules and their collections as well.
3. the theory of computational quantum chemistry is empirically true and the theory-induce physical system constituted of molecules and their collection is identical to the physical system constituted of molecules and their collections, which corresponding to the chemical phenomena.
4. The mathematical models or theoretical formulation of the molecular system are molecular quantum mechanics and statistical mechanics etc.
5. By using the theoretical formulation, we may describe and predict the behavior of theory induced molecular system, which corresponds to the real chemical phenomena.
IV. The Successes and Philosophical significance of computational quantum chemistry: methylene paradigm and other examples
A. reliability of application of molecular quantum mechanics in chemistry
In applying semantic analysis of computational quantum chemistry, an important question about applicability of quantum mechanics to chemistry is the reliability of 'prediction' . The question may be of two aspects: (1) how close are the physical systems (theory-induced physical systems) to the chemical phenomena? (2) how good is the mathematics description of the theory-induced physical systems?
Coulson's generation of quantum theoretical chemists were struck by the fact that the mathematical physics of quantum mechanics did not result in fundamental breakthroughs or discoveries in chemistry. Even Mullican claimed that his initial work in quantum mechanics 'interpreted' rather than 'discovered' chemical facts.[4]
Allberte Pullman4 commented in 1970; "while it is certainly indispensable that theoretical chemist constantly try to improve the values of the size they calculated and more and more approach exact energy values .... quantum chemistry risk giving the impression that its essential goal is reproducing by uncertain methods known results, in contrast to all other sciences whose goal is to use well-defined methods for the research of unknown truths"
Ironically, it is in 1970 this 'more and more approach exact energy values lead to a breakthrough in theoretical chemistry. This breakthrough is not the theoretical method, rather it established first time that molecular quantum mechanics could yield accurate results to challenge experiment and is very significant from the view of point of philosophy of science. The case indicated here is the famous methylene paradigm.[2]
Between 1962 and 1970 there was essentially universal scientific agreement that the methylene molecule was linear in its triplet ground state, as concluded by the brilliant spectroscopist Gerhard Herzberg (the father of modern spectroscopy) from experiments described in his Nobel Prize citation. The 1970 theoretical treatment by Bender and Schaefer brought to bear on the methylene problem theoretical methods that had been applied only to atoms and diatomic molecules. Their theoretical results, which predicted that the methylene molecule was bent by 135ø, clashed with the experimental conclusion. Indirect experimental evidence for such highly bent methylene molecule came quickly, followed by a reinterpretation of the spectroscopic studies to confirm the bent geometry predicted by theory. The reliability of molecular quantum mechanical model for chemistry and a new role for theory, "full partner with experiment" had been charted. The methylene paradigm is only one example. Since 1970, computational quantum chemistry is established as a well defined method and widely used as tool for searching of unknown truth. In Professor Schaefer's group alone there are at least 23 cases in which experimental conclusions were ultimately revised to conform to theoretical predictions.[2c]
B. Philosophical significance of computational quantum chemistry: theoretical observer and theoretical experimentation as an inquiry method for nature.
The philosophical significance of the practice of computational quantum chemistry lies on its implication about the roles of theory and its interaction with physical experiments. The conventional roles of theory were the explanation (interpretation) and prediction function.[8] However, the practice of computational chemistry has go beyond simple prediction and suggests that the theories also have experimental function. To mean the experimental function here, I do not restrict to theoretical involvement in observation as the critics of observation/theory distinction implied. The experimental function of theory that I will try to advocate is its function as experimental tool obtain information from nature. Let us take three kinds research problem in chemistry for illustration: (1) Molecular structures and their spectroscopic constant. (2) Spectroscopic experiments for chemical reactions: and (3) Synthetic chemistry.
The most and earliest success for the quantum chemistry is in the first category, for example the methylene problem cited earlier.[2] The ab initio results are well established and accepted. Two examples may be see in chapters 2 and 5 in this dissertation. In the later case, our theoretical results disagreed with experimental X-ray structure of tetraethynylmethane, new experimental results followed up confirmed our theoretical results recently.
Some people argued[4]: 'Quantum mechanics gives perfect prediction for all spectroscopic experiment. However, chemistry is not spectroscopy." Let us take the examples in the second category with more elements of chemistry -- the dynamics and kinetics of chemical reaction. One example of such practice is successful calculations of thermochemical properties for chemical reactions. In Chapter 5, we will see the accurate theoretical results about the bonding energies, the changes of enthalpies, entropy, and free energies of hydration reactions of metaphosphate anion. Other examples concern two of the fundamental hypothesis or principles for the chemical reaction, namely potential energy surfaces and transitions state theory. The successes of computational chemistry in the areas are remarkable, and some of them may be seen in Professor Schaefer's list.[2c]
Let us take third category for further elaboration. According to the semantic conception of theory[8], if the theory is empirically true the theory-induced physical system replicates the phenomenal system. Therefore if the theory induced physical system exist then there should exist a phenomenal system corresponding to the theory-induced physical system (The successful prediction of the existence of positron is a nice example). This philosophical belief is well illustrated in the new research field of molecular design. In the field of chemistry, the situation is more complex than in the case of fundamental particles, because of the infinite number of the possible molecules. Theory can be used to search the possible existence of new classes of molecules that might be of scientific value and of value to society. For example drug design and molecular electronics. Computational chemistry play a vital role in the molecular design. The successes for such practice wait to be seen, since the discipline is totally new and "the user of the (computer) programs lacked the imagination to ask the right question"[11]. Nevertheless, a lot of successful prediction of existence of small molecule have been appeared, one example is the prediction about existence of a novel class of molecular complexes including Li-H2O by Professor Schaefer's group.
In conclusion, we should note that the nature of the computational chemical prediction has the component of experimentation. The prediction process itself is a experimental process. This is why some scientists call the computational chemistry as computer experiment. As Professor Schaefer put out[2a], " computational quantum chemistry is a gentle reductionist companion to experiment in the same sense that a powerful NMR spetrosmeter can be a valuable companion to the synthetic organic or inorganic chemist. We do not expect chemical concepts to flow out of the computer any more than we expected chemical concepts to emerge directly from NMR machine. However, when placed in the hands of a superb intuitive chemist, both devices provide the data from which meaningful chemical understanding of nature may be constructed."
Here we should put it forward that the new role of theory suggested by the practice of computational chemistry maybe termed as 'experimentation'. Recall that it has long been recognized the role of 'thought experiment'. We should define two kinds of experimentation here, namely, 'theoretically experimentation; and 'physical experimentation' which is the conventional and narrow mean of experimentation.
V. Save the Phenomena: the interplay between theoretical experimentation and physical experimentation and the philosophical significance of a theoretical observer
Many scientists hold the belief that the goal of science is to save phenomena. The phrase "save the phenomena" crystallizes Plato's conviction that one of the primary tasks of science is to provide a model that would adequately explain the perceivable world of the sense. For Plato there was an inseparated relationship between science and philosophy. He saw the task of philosophy (science/knowledge) to get beyond the realm of the physical (opinion) to the ultimate or metaphysical realm.[12]
The successes of computational quantum chemistry suggested that many chemical phenomena are save by the model of molecular quantum mechanics. Therefore, by applying the model to chemistry, a scientist may perform the theoretical experiments to inquire into nature of chemical world and be a theoretical observer of chemical phenomena.
Scientists need no convincing that (physical) experiment plays an essential role in science. However, for philosophers of science, the well-known function of (physical) experimentation is hypothesis testing and another function as means of inquiry is less often discussed.[13] For the interplay between theory and experiment, most of the philosopher of science focused on the debate of obervation/theory distinction and some of them[13] (Van Fraasson, for example as I know) go further to state that (physical) experimentation is the continuation of theory construction by other means. Of course, it need no argument that theory construction is the continuation of physical experimentation as well. Given such philosophical background, how should we understand the interplay between theoretical experimentation and physical experimentation? A new tool may be helpful.
The cognitive revolution in philosophy of science is well under way[14]. One of the working assumption is that the fundamental premise of the cognitive approach is that humans are subject to empirical study. Further more, what distinguishes the study of cognition, as opposed to such other natural human processes and ability as digestion is a focus on those aspects of human activity that involve information gathering and processing. If we take the perspective that science is a method of information gathering and processing, then we can ask about the relative contributions of various kinds of developments.[14]
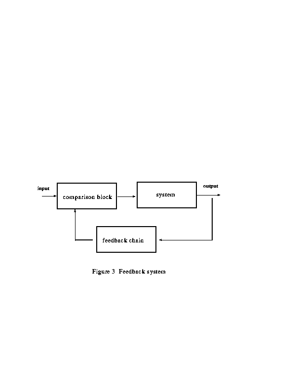
Humans constitute a self-organization system. Therefore, scientific activity should have the characteristics of a self-organization system, which is also a feedback system [15](as the following).
[*]
Here, for any input information, no matter that from physical experimentation or theoretical experimentation, has to be evaluated by comparison block. Conventionally, such feedback function is only performed by physical experiments, i.e., theoretical results must be confirmed by experiment. Often, however, the histories of physics and computational quantum chemistry show that experimental results are both fallible and corrigible as well. It is apparent that a theoretical experimentation, which performs comparison function as well, will make such feedback system more complete and more efficient. A phenomenon is saved only the information form this phenomenon has pass such feedback system as output. Therefore, the interplay of theoretical experimentation and physical experimentation is their dual roles as input (inquiry) and comparison (testing).
The philosophical significance of a theoretical observer of nature may be inferred from the analysis of Lorentz observation process[15], which fit the interplay between theory and (physical) experiment nicely.
It is important to note that, upon the inquiry into nature, no matter whatever kind of operation they are officially designated, they are in principle much more limited in the amount of information that they can provided about the properties and relations of the object in the domain. Therefore, we should to try to obtain the maximum amount of knowledge we may obtained from this world. If we agree that theory represents our knowledge about this world, then we can obtained the maximum amount of knowledge only when a theoretician is an "direct observer" of the world, as suggested by the relativistic model for general systems.

ACKNOWLEDGMENTS
I appreciate helpful discussions with Dr. Y. Xie and Mr G. Zhu. I thank Mr. David Sherrill for proof-reading this manuscript.

REFERENCES
1. Nieuwpoort, W. C. in New Chanlelenges in Computational Quantum Chemistry
ed. Broer, R.; Aerts, P. J. C.; Bagus, P. S. Rijksuniversiteit Groningen, Groningen. 1994.
2. Schaefer, H. F. a) Chemistry & Industry, submitted.
b) Macmillan Encyclopedia of Chemistry, ed. Lagowski, J. J.
c) Acc. Chem. Res submitted.
3. Lipkowitz, K. B.; Boyd, D. B. in Review in Computational Chemistry
ed. Lipkowitz, K. B.; Boyd, D. B. VCH Publishers, Inc. New York, 1989. p ix.
4. Nye, M. J. From Chemical Philosophy to Theoretical Chemistry.
University of California Press. Berkeley, Los Angeles, London. 1993.
5. Boyd, D. B. in the reference 3. p 328.
6. Dirac, P. A. M. Proc. R. Soc. London, 1929,123, 714
7. Wisdom, J. O. Chanllengeability in Modern Science
Gower Publishing Company, Vermont, 1987.
8. Suppe, F. The Semantic Conception of Theories and Scientific Realism
University of Illinoois Press, Urbana and Chicago, 1989.
9. Salmon, M. H.; Earman, J.; Glymour, C.; Lennox, J.; Mahamer, P.;
McGuire, J. E.; Norton, J.; Salmon, W. C.; Shaffner, K.
Introduction to the Philosophy of Science, Prentice Hall. New Jersey, 1992.
10. Callebaut, W. Taking the Naturalistic Turn
The University of Chicago Press, Chicago and London, 1993. p464.
11. Davidson, W. R. in reference 3 p374.
12. Allene, W. D. Molecular Quantum Mechanics, Lecture in CCQC.
13. van Fraassen, B. C. in The process of Science ed. Nersessian, N. J.
Martinus NijHoff Publishers, Dordrecht/Bost/Lancaster, 1987. p105.
14. Grandy, R. E. in Minnesota Studies in the Philosophy of Science vol xv.
ed. Giere, R. N. University of Minnesota Press, Minneapolis, 1992.
15. Jumarie, G. M. Subjectivity, Information, Systems.
Gordon and Breach Science Publishers, New York, 1986.